Exigences techniques relatives au déploiement de l’infrastructure de la plateforme «Liquio»
Vous pouvez télécharger le document sur le lien
La plateforme «Liquio» (ci-après la «Plateforme») est déployée sur la base d’un cluster Kubernetes, garantissant la scalabilité, la tolérance aux pannes et la prise en charge des pratiques DevOps modernes.
1 Modes de déploiement pris en charge
Plusieurs méthodes de déploiement de la Plateforme sont prises en charge:
Kubernetes K8s — pour les systèmes à forte charge et hautement disponibles;
Kubernetes K3s — pour les environnements de développement et de test, ainsi que pour les installations moins sollicitées;
RKE2 — pour les déploiements monopostes, destinés aux environnements de démonstration et aux projets de petite envergure.
Pour chacune de ces approches, des exigences spécifiques d’infrastructure ainsi que des paramètres techniques minimaux et recommandés sont définis.
La méthode standard de déploiement de la Plateforme est Kubernetes K8s, permettant de mettre en place des environnements productifs à forte charge et d’en garantir la continuité opérationnelle.
Les exigences techniques et recommandations pour le déploiement de la Plateforme sur Kubernetes K8s sont détaillées ci-après.
2 Exigences techniques pour Kubernetes K8s
2.1 Infrastructure:
le cluster tolérant aux pannes est déployé sur des nœuds fonctionnant sous Ubuntu 24.04 LTS ou version ultérieure;
spécification pour le serveur de base de données : PostgreSQL 16+;
pour les nœuds workers, un disque supplémentaire dédié au cluster de stockage des données doit être connecté (le disque doit être ajouté en tant que disque secondaire mais laissé non partitionné).
2.2 Réseau:
les nœuds doivent être situés dans un réseau local à un seul niveau avec des adresses IP statiques.
2.3 Caractéristiques:
les paramètres recommandés sont présentés dans le tableau 1;
les paramètres minimaux sont présentés dans le tableau 2.
2.4 Accès aux ressources externes:
la liste des accès nécessaires au déploiement de l’infrastructure selon le principe K8s est fournie dans le tableau 3.
Tableau 1 – Exigences techniques recommandées pour le déploiement selon le principe Kubernetes K8s
Nom du nœud | HÔTE | CPU, cœurs | RAM, Go | Espace disque SSD, Go | Capacité de stockage supplémentaire [SSD], Go | Commentaire |
|---|---|---|---|---|---|---|
Master-01 | Host-1 | 2 | 4 | 50+ | Cluster de 3 nœuds maîtres, gérant le cluster K8s | |
Master-02 | Host-2 | 2 | 4 | 50+ | ||
Master-03 | Host-3 | 2 | 4 | 50+ | ||
Postgres-1 | Host-1 | 4 | 8 | 100 | 500+ | Cluster autonome et distinct de bases de données primaire-secondaire (optionnel) |
Postgres-2 | Host-2 | 4 | 8 | 100 | 500+ | |
Worker-01 | Host-1 | 12 | 24 | 80 | 500+ | Cluster de workloads |
Worker-02 | Host-2 | 12 | 24 | 80 | 500+ | |
Worker-03 | Host-3 | 12 | 24 | 80 | 500+ | |
Backup | Host-2 | 2 | 4 | 1000+ | Serveur distinct pour les sauvegardes | |
VPN | Host-1 | 2 | 2 | 20 | Serveur VPN | |
Au total | 54 | 106 | 1610+ | 2500+ | ||
Tableau 2 – Exigences techniques minimales pour le déploiement selon le principe Kubernetes K8s
Nom du nœud | HÔTE | CPU, cœurs | RAM, Go | Espace disque SSD, Go | Capacité de stockage supplémentaire [SSD], Go | Commentaire |
|---|---|---|---|---|---|---|
Master-01 | Host-1 | 2 | 4 | 50 | Cluster de 3 nœuds maîtres, gérant le cluster K8s | |
Master-02 | Host-1 | 2 | 4 | 50 | ||
Master-03 | Host-1 | 2 | 4 | 50 | ||
Postgres-1 | Host-1 | 4 | 8 | 100 | 500+ | Cluster autonome et distinct de bases de données primaire-secondaire (optionnel) |
Postgres-2 | Host-2 | 4 | 8 | 100 | 500+ | |
Worker-01 | Host-1 | 8 | 16 | 80 | 300 | Cluster de workloads |
Worker-02 | Host-1 | 8 | 16 | 80 | 300 | |
Worker-03 | Host-1 | 8 | 16 | 80 | 300 | |
Backup | Host-1 | 2 | 4 | 1000 | Serveur distinct pour les sauvegardes | |
VPN | Host-1 | 2 | 2 | 20 | Serveur VPN | |
Au total | 42 | 82 | 1610 | 900 | ||
Tableau 3 – Accès aux ressources externes de K8s
Ressources | Liens |
|---|---|
Kubernetes | |
Dépôts Helm | |
cilium cni | |
cloudnative pg | |
elasticsearch | |
ingress-nginx | |
metallb | |
victoriametrics | |
sealed-secrets | |
minio | |
reloader | |
consul + vault | |
Registres publics | |
Docker | |
GitHub | |
Amazon | |
Quay | |
registry.k8s |
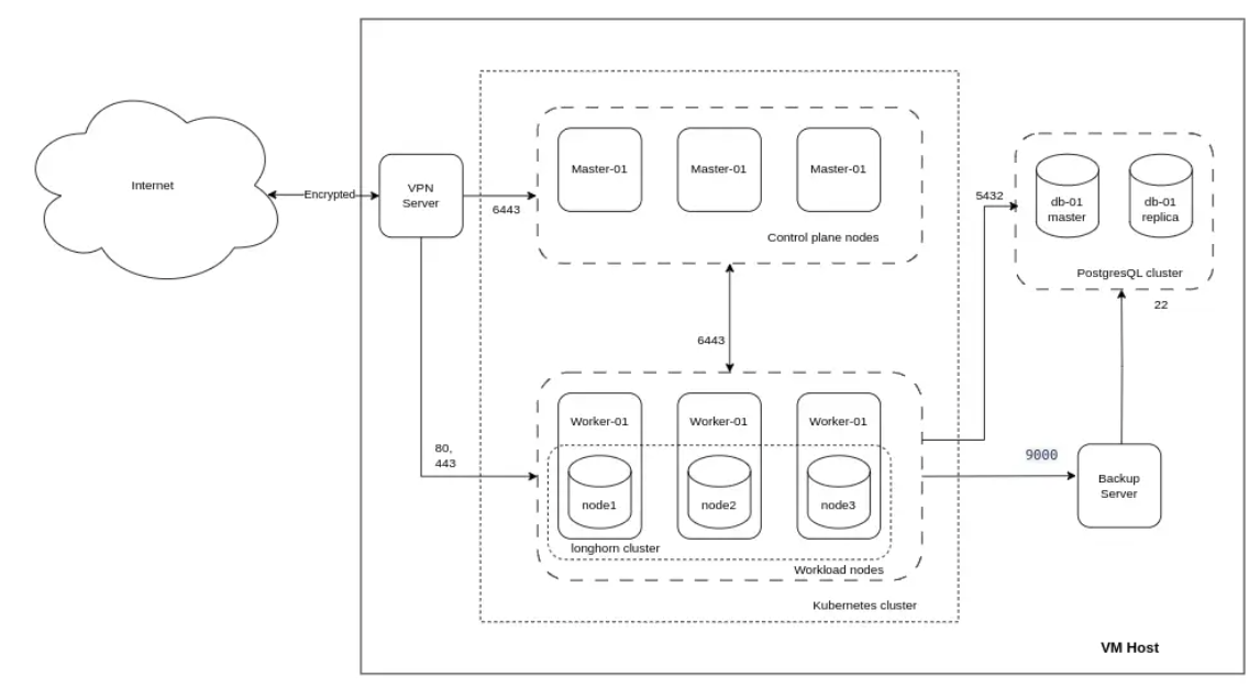
3 Schéma de déploiement selon le principe Kubernetes K8s
La figure 1 présente une représentation graphique du schéma de déploiement de la Plateforme sur l’infrastructure K8s, illustrant les principaux éléments de l’infrastructure, y compris les nœuds maîtres et workers, le serveur VPN, le cluster PostgreSQL et le serveur de sauvegarde.

Figure 1 – Schéma de déploiement de la Plateforme selon le principe Kubernetes K8s